

ΑΤΜ, Κιβώτια μεταφοράς, Τρόλλεϋ
|
|
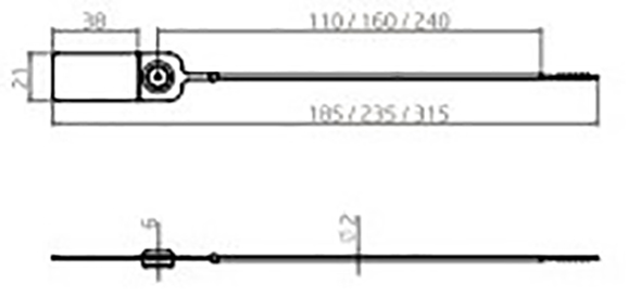
ΜP416-S |
ΜP416-L |
ΜP416-XL |
|
Ποσότητα |
1.000 τεμ |
1.000 τεμ |
1.000 τεμ |
|
Διαστ. κιβωτίου |
23x20x35 cm |
23x20x35 cm |
24x33x33 cm |
|
Βάρος κιβωτίου |
2,40 kg |
2,60 kg |
3,30 kg |
|
Παλέτα |
80x120x225 cm, 120.000 τεμ |
80x120x225 cm, 90.000 τεμ |
100x120x215 cm 90.000 τεμ |